Mục lục

Nghị định về công tác văn thư – phụ lục 

Nghị định về công tác văn thư – phụ lục 

Phụ lục I

THỂ THỨC, KỸ THUẬT TRÌNH BÀY VĂN BẢN HÀNH CHÍNH

VÀ BẢN SAO VĂN BẢN

(Kèm theo Nghị định số 30/2020/NĐ-CP ngày 05 tháng 3 năm 2020 của Chính phủ)

 

Phần I

THỂ THỨC VÀ KỸ THUẬT TRÌNH BÀY VĂN BẢN HÀNH CHÍNH

 

I. QUY ĐỊNH CHUNG

  1. Khổ giấy: Khổ A4 (210 mm x 297 mm).
  2. Kiểu trình bày: Theo chiều dài của khổ A4. Trường hợp nội dung văn bản có các bảng, biểu nhưng không được làm thành các phụ lục riêng thì văn bản có thể được trình bày theo chiều rộng.
  3. Định lề trang: Cách mép trên và mép dưới 20 – 25 mm, cách mép trái 30 – 35 mm, cách mép phải 15 – 20 mm.
  4. Phông chữ: Phông chữ tiếng Việt Times New Roman, bộ mã ký tự Unicode theo Tiêu chuẩn Việt Nam TCVN 6909:2001, màu đen.
  5. Cỡ chữ và kiểu chữ: Theo quy định cụ thể cho từng yếu tố thể thức.
  6. Vị trí trình bày các thành phần thể thức: Được thực hiện theo Mục IV Phần I Phụ lục này.
  7. Số trang văn bản: Được đánh từ số 1, bằng chữ số Ả Rập, cỡ chữ 13 đến 14, kiểu chữ đứng, được đặt canh giữa theo chiều ngang trong phần lề trên của văn bản, không hiển thị số trang thứ nhất.

II. CÁC THÀNH PHẦN THỂ THỨC CHÍNH

  1. Quốc hiệu và Tiêu ngữ

a) Quốc hiệu “CỘNG HÒA XÃ HỘI CHỦ NGHĨA VIỆT NAM”: Được trình bày bằng chữ in hoa, cỡ chữ từ 12 đến 13, kiểu chữ đứng, đậm và ở phía trên cùng, bên phải trang đầu tiên của văn bản.

b) Tiêu ngữ “Độc lập – Tự do – Hạnh phúc”: Được trình bày bằng chữ in thường, cỡ chữ từ 13 đến 14, kiểu chữ đứng, đậm và được canh giữa dưới Quốc hiệu; chữ cái đầu của các cụm từ được viết hoa, giữa các cụm từ có gạch nối (-), có cách chữ; phía dưới có đường kẻ ngang, nét liền, có độ dài bằng độ dài của dòng chữ.

c) Quốc hiệu và Tiêu ngữ được trình bày tại ô số 1 Mục IV Phần I Phụ lục này. Hai dòng chữ Quốc hiệu và Tiêu ngữ được trình bày cách nhau dòng đơn.

2. Tên cơ quan, tổ chức ban hành văn bản

a) Tên cơ quan, tổ chức ban hành văn bản là tên chính thức, đầy đủ của cơ quan, tổ chức hoặc chức danh nhà nước của người có thẩm quyền ban hành văn bản. Tên cơ quan, tổ chức ban hành văn bản bao gồm tên của cơ quan, tổ chức ban hành văn bản và tên của cơ quan, tổ chức chủ quản trực tiếp (nếu có).

Đối với tên cơ quan, tổ chức chủ quản trực tiếp ở địa phương có thêm tên tỉnh, thành phố trực thuộc Trung ương hoặc huyện, quận, thị xã, thành phố thuộc tỉnh, thành phố thuộc thành phố trực thuộc Trung ương hoặc xã, phường, thị trấn nơi cơ quan, tổ chức ban hành văn bản đóng trụ sở. Tên của cơ quan, tổ chức chủ quản trực tiếp được viết tắt những cụm từ thông dụng.

b) Tên cơ quan, tổ chức ban hành văn bản được trình bày bằng chữ in hoa, cỡ chữ từ 12 đến 13, kiểu chữ đứng, đậm, được đặt canh giữa dưới tên cơ quan, tổ chức chủ quản trực tiếp; phía dưới có đường kẻ ngang, nét liền, có độ dài bằng từ 1/3 đến 1/2 độ dài của dòng chữ và đặt cân đối so với dòng chữ.

Tên cơ quan, tổ chức chủ quản trực tiếp được trình bày bằng chữ in hoa, cỡ chữ từ 12 đến 13, kiểu chữ đứng.

Tên cơ quan, tổ chức ban hành văn bản và tên cơ quan, tổ chức chủ quản trực tiếp được trình bày cách nhau dòng đơn. Trường hợp tên cơ quan, tổ chức ban hành văn bản, tên cơ quan, tổ chức chủ quản trực tiếp dài có thể trình bày thành nhiều dòng.

c) Tên cơ quan, tổ chức ban hành văn bản được trình bày tại ô số 2 Mục IV Phần I Phụ lục này.

3. Số, ký hiệu của văn bản

a) Số của văn bản là số thứ tự văn bản do cơ quan, tổ chức ban hành trong một năm được đăng ký tại Văn thư cơ quan theo quy định. Số của văn bản được ghi bằng chữ số Ả Rập.

Trường hợp các Hội đồng, Ban, Tổ của cơ quan, tổ chức (sau đây gọi chung là tổ chức tư vấn) được ghi là “cơ quan ban hành văn bản” và được sử dụng con dấu, chữ ký số của cơ quan, tổ chức để ban hành văn bản thì phải lấy hệ thống số riêng.

b) Ký hiệu của văn bản

Ký hiệu của văn bản bao gồm chữ viết tắt tên loại văn bản và chữ viết tắt tên cơ quan, tổ chức hoặc chức danh nhà nước có thẩm quyền ban hành văn bản. Đối với công văn, ký hiệu bao gồm chữ viết tắt tên cơ quan, tổ chức hoặc chức danh nhà nước ban hành công văn và chữ viết tắt tên đơn vị soạn thảo hoặc lĩnh vực được giải quyết.

Chữ viết tắt tên cơ quan, tổ chức và các đơn vị trong mỗi cơ quan, tổ chức hoặc lĩnh vực do người đứng đầu cơ quan, tổ chức quy định cụ thể, bảo đảm ngắn gọn, dễ hiểu.

c) Số, ký hiệu của văn bản được đặt canh giữa dưới tên cơ quan, tổ chức ban hành văn bản. Từ “Số” được trình bày bằng chữ in thường, cỡ chữ 13, kiểu chữ đứng; sau từ “Số” có dấu hai chấm (:); với những số nhỏ hơn 10 phải ghi thêm số 0 phía trước. Ký hiệu của văn bản được trình bày bằng chữ in hoa, cỡ chữ 13, kiểu chữ đứng. Giữa số và ký hiệu văn bản có dấu gạch chéo (/), giữa các nhóm chữ viết tắt trong ký hiệu văn bản có dấu gạch nối (-), không cách chữ.

d) Số, ký hiệu của văn bản được trình bày tại ô số 3 Mục IV Phần I Phụ lục này.

4. Địa danh và thời gian ban hành văn bản

a) Địa danh ghi trên văn bản do cơ quan nhà nước ở trung ương ban hành là tên gọi chính thức của tỉnh, thành phố trực thuộc Trung ương nơi cơ quan ban hành văn bản đóng trụ sở. Địa danh ghi trên văn bản do cơ quan nhà nước ở địa phương ban hành là tên gọi chính thức của đơn vị hành chính nơi cơ quan ban hành văn bản đóng trụ sở.

Đối với những đơn vị hành chính được đặt theo tên người, bằng chữ số hoặc sự kiện lịch sử thì phải ghi tên gọi đầy đủ của đơn vị hành chính đó.

Địa danh ghi trên văn bản của các cơ quan, tổ chức, đơn vị lực lượng vũ trang nhân dân thuộc phạm vi quản lý của Bộ Công an, Bộ Quốc phòng được thực hiện theo quy định của pháp luật và quy định cụ thể của Bộ Công an, Bộ Quốc phòng.

b) Thời gian ban hành văn bản

Thời gian ban hành văn bản là ngày, tháng, năm văn bản được ban hành. Thời gian ban hành văn bản phải được viết đầy đủ; các số thể hiện ngày, tháng, năm dùng chữ số Ả Rập; đối với những số thể hiện ngày nhỏ hơn 10 và tháng 1, 2 phải ghi thêm số 0 phía trước.

c) Địa danh và thời gian ban hành văn bản được trình bày trên cùng một dòng với số, ký hiệu văn bản, tại ô số 4 Mục IV Phần I Phụ lục này, bằng chữ in thường, cỡ chữ từ 13 đến 14, kiểu chữ nghiêng; các chữ cái đầu của địa danh phải viết hoa; sau địa danh có dấu phẩy (,); địa danh và ngày, tháng, năm được đặt dưới, canh giữa so với Quốc hiệu và Tiêu ngữ.

5. Tên loại và trích yếu nội dung văn bản

a) Tên loại văn bản là tên của từng loại văn bản do cơ quan, tổ chức ban hành. Trích yếu nội dung văn bản là một câu ngắn gọn hoặc một cụm từ phản ánh khái quát nội dung chủ yếu của văn bản.

b) Tên loại và trích yếu nội dung văn bản được trình bày tại ô số 5a Mục IV Phần I Phụ lục này, đặt canh giữa theo chiều ngang văn bản. Tên loại văn bản được trình bày bằng chữ in hoa, cỡ chữ từ 13 đến 14, kiểu chữ đứng, đậm. Trích yếu nội dung văn bản được đặt ngay dưới tên loại văn bản, trình bày bằng chữ in thường, cỡ chữ từ 13 đến 14, kiểu chữ đứng, đậm. Bên dưới trích yếu nội dung văn bản có đường kẻ ngang, nét liền, có độ dài bằng từ 1/3 đến 1/2 độ dài của dòng chữ và đặt cân đối so với dòng chữ.

Đối với công văn, trích yếu nội dung văn bản được trình bày tại ô số 5b Mục IV Phần I Phụ lục này, sau chữ “V/v” bằng chữ in thường, cỡ chữ từ 12 đến 13, kiểu chữ đứng; đặt canh giữa dưới số và ký hiệu văn bản, cách dòng 6pt với số và ký hiệu văn bản.

  1. Nội dung văn bản

a) Căn cứ ban hành văn bản

Căn cứ ban hành văn bản bao gồm văn bản quy định thẩm quyền, chức năng, nhiệm vụ của cơ quan, tổ chức ban hành văn bản và các văn bản quy định nội dung, cơ sở để ban hành văn bản. Căn cứ ban hành văn bản được ghi đầy đủ tên loại văn bản, số, ký hiệu, cơ quan ban hành, ngày tháng năm ban hành văn bản và trích yếu nội dung văn bản (riêng Luật, Pháp lệnh không ghi số, ký hiệu, cơ quan ban hành).

Căn cứ ban hành văn bản được trình bày bằng chữ in thường, kiểu chữ nghiêng, cỡ chữ từ 13 đến 14, trình bày dưới phần tên loại và trích yếu nội dung văn bản; sau mỗi căn cứ phải xuống dòng, cuối dòng có dấu chẩm phẩy (;), dòng cuối cùng kết thúc bằng dấu chấm (.).

b) Khi viện dẫn lần đầu văn bản có liên quan, phải ghi đầy đủ tên loại, số, ký hiệu của văn bản, thời gian ban hành văn bản, tên cơ quan, tổ chức ban hành văn bản và trích yếu nội dung văn bản (đối với Luật và Pháp lệnh chỉ ghi tên loại và tên của Luật, Pháp lệnh); trong các lần viện dẫn tiếp theo, chỉ ghi tên loại và số, ký hiệu của văn bản đó.

c) Bố cục của nội dung văn bản: Tùy theo tên loại và nội dung, văn bản có thể có phần căn cứ pháp lý để ban hành, phần mở đầu và có thể được bố cục theo phần, chương, mục, tiểu mục, điều, khoản, điểm hoặc được phân chia thành các phần, mục từ lớn đến nhỏ theo một trình tự nhất định.

d) Đối với các hình thức văn bản được bố cục theo phần, chương, mục, tiểu mục, điều thì phần, chương, mục, tiểu mục, điều phải có tiêu đề. Tiêu đề là cụm từ chỉ nội dung chính của phần, chương, mục, tiểu mục, điều.

đ) Cách trình bày phần, chương, mục, tiểu mục, điều, khoản, điểm

Từ “Phần”, “Chương” và số thứ tự của phần, chương được trình bày trên một dòng riêng, canh giữa, bằng chữ in thường, cỡ chữ từ 13 đến 14, kiểu chữ đứng, đậm. Số thứ tự của phần, chương dùng chữ số La Mã. Tiêu đề của phần, chương được trình bày ngay dưới, canh giữa, bằng chữ in hoa, cỡ chữ từ 13 đến 14, kiểu chữ đứng, đậm.

Từ “Mục”, “Tiểu mục” và số thứ tự của mục, tiểu mục được trình bày trên một dòng riêng, canh giữa, bằng chữ in thường, cỡ chữ từ 13 đến 14, kiểu chữ đứng, đậm. Số thứ tự của mục, tiểu mục dùng chữ số Ả Rập. Tiêu đề của mục, tiểu mục được trình bày ngay dưới, canh giữa, bằng chữ in hoa, cỡ chữ từ 13 đến 14, kiểu chữ đứng, đậm.

Từ “Điều”, số thứ tự và tiêu đề của điều được trình bày bằng chữ in thường, lùi đầu dòng 1 cm hoặc 1,27 cm. Số thứ tự của điều dùng chữ số Ả Rập, sau số thứ tự có dấu chấm (.); cỡ chữ bằng cỡ chữ của phần lời văn, kiểu chữ đứng, đậm.

Số thứ tự các khoản trong mỗi mục dùng chữ số Ả Rập, sau số thứ tự có dấu chấm (.), cỡ chữ số bằng cỡ chữ của phần lời văn, kiểu chữ đứng. Nếu khoản có tiêu đề, số thứ tự và tiêu đề của khoản được trình bày trên một dòng riêng, bằng chữ in thường, cỡ chữ bằng cỡ chữ của phần lời văn, kiểu chữ đứng, đậm.

Thứ tự các điểm trong mỗi khoản dùng các chữ cái tiếng Việt theo thứ tự bảng chữ cái tiếng Việt, sau có dấu đóng ngoặc đơn, bằng chữ in thường, cỡ chữ bằng cỡ chữ của phần lời văn, kiểu chữ đứng.

e) Nội dung văn bản được trình bày bằng chữ in thường, được canh đều cả hai lề, kiểu chữ đứng; cỡ chữ từ 13 đến 14; khi xuống dòng, chữ đầu dòng lùi vào 1 cm hoặc 1,27 cm; khoảng cách giữa các đoạn văn tối thiểu là 6pt; khoảng cách giữa các dòng tối thiểu là dòng đơn, tối đa là 1,5 lines.

g) Nội dung văn bản được trình bày tại ô số 6 Mục IV Phần I Phụ lục này.

7. Chức vụ, họ tên và chữ ký của người có thẩm quyền

a) Chữ ký của người có thẩm quyền là chữ ký của người có thẩm quyền trên văn bản giấy hoặc chữ ký số của người có thẩm quyền trên văn bản điện tử.

b) Việc ghi quyền hạn của người ký được thực hiện như sau:

Trường hợp ký thay mặt tập thể thì phải ghi chữ viết tắt “TM.” vào trước tên tập thể lãnh đạo hoặc tên cơ quan, tổ chức.

Trường hợp được giao quyền cấp trưởng thì phải ghi chữ viết tắt “Q.” vào trước chức vụ của người đứng đầu cơ quan, tổ chức.

Trường hợp ký thay người đứng đầu cơ quan, tổ chức thì phải ghi chữ viết tắt “KT.” vào trước chức vụ của người đứng đầu. Trường hợp cấp phó được giao phụ trách hoặc điều hành thì thực hiện ký như cấp phó ký thay cấp trưởng.

Trường hợp ký thừa lệnh thì phải ghi chữ viết tắt “TL.” vào trước chức vụ của người đứng đầu cơ quan, tổ chức.

Trường hợp ký thừa ủy quyền thì phải ghi chữ viết tắt “TUQ.” vào trước chức vụ của người đứng đầu cơ quan, tổ chức.

c) Chức vụ, chức danh và họ tên của người ký

Chức vụ ghi trên văn bản là chức vụ lãnh đạo chính thức của người ký văn bản trong cơ quan, tổ chức; không ghi những chức vụ mà Nhà nước không quy định.

Chức danh ghi trên văn bản do các tổ chức tư vấn ban hành là chức danh lãnh đạo của người ký văn bản trong tổ chức tư vấn.

Đối với những tổ chức tư vấn được phép sử dụng con dấu của cơ quan, tổ chức thì ghi chức danh của người ký văn bản trong tổ chức tư vấn và chức vụ trong cơ quan, tổ chức. Đối với những tổ chức tư vấn không được phép sử dụng con dấu của cơ quan, tổ chức thì chỉ ghi chức danh của người ký văn bản trong tổ chức tư vấn.

Chức vụ (chức danh) của người ký văn bản do Hội đồng hoặc Ban Chỉ đạo của Nhà nước ban hành mà lãnh đạo Bộ làm Trưởng ban hoặc Phó Trưởng ban, Chủ tịch hoặc Phó Chủ tịch Hội đồng thì phải ghi rõ chức vụ (chức danh) và tên cơ quan, tổ chức nơi lãnh đạo Bộ công tác ở phía trên họ tên người ký.

Họ và tên người ký văn bản bao gồm họ, tên đệm (nếu có) và tên của người ký văn bản. Trước họ tên của người ký, không ghi học hàm, học vị và các danh hiệu danh dự khác. Việc ghi thêm quân hàm, học hàm, học vị trước họ tên người ký đối với văn bản của các đơn vị vũ trang nhân dân, các tổ chức sự nghiệp giáo dục, y tế, khoa học do người đứng đầu cơ quan quản lý ngành, lĩnh vực quy định.

d) Hình ảnh, vị trí chữ ký số của người có thẩm quyền là hình ảnh chữ ký của người có thẩm quyền trên văn bản giấy, màu xanh, định dạng Portable Network Graphics (.png) nền trong suốt; đặt canh giữa chức vụ của người ký và họ tên người ký.

đ) Quyền hạn, chức vụ của người ký được trình bày tại ô số 7a Mục IV Phần I Phụ lục này; chức vụ khác của người ký được trình bày tại ô số 7b Mục IV Phần I Phụ lục này, phía trên họ tên của người ký văn bản; các chữ viết tắt quyền hạn như: “TM.”, “Q.”, “KT.”, “TL.”, “TUQ.” và quyền hạn chức vụ của người ký được trình bày bằng chữ in hoa, cỡ chữ từ 13 đến 14, kiểu chữ đứng, đậm.

Chữ ký của người có thẩm quyền được trình bày tại ô số 7c Mục IV Phần I Phụ lục này.

Họ và tên của người ký văn bản được trình bày tại ô số 7b Mục IV Phần I Phụ lục này, bằng chữ in thường, cỡ chữ từ 13 đến 14, kiểu chữ đứng, đậm, được đặt canh giữa quyền hạn, chức vụ của người ký.

  1. Dấu, chữ ký số của cơ quan, tổ chức

a) Hình ảnh, vị trí chữ ký số của cơ quan, tổ chức là hình ảnh dấu của cơ quan, tổ chức ban hành văn bản trên văn bản, màu đỏ, kích thước bằng kích thước thực tế của dấu, định dạng (.png) nền trong suốt, trùm lên khoảng 1/3 hình ảnh chữ ký số của người có thẩm quyền về bên trái.

b) Chữ ký số của cơ quan, tổ chức trên văn bản kèm theo văn bản chính được thể hiện như sau: Văn bản kèm theo cùng tệp tin với nội dung văn bản điện tử, Văn thư cơ quan chỉ thực hiện ký số văn bản và không thực hiện ký số lên văn bản kèm theo; văn bản không cùng tệp tin với nội dung văn bản điện tử, Văn thư cơ quan thực hiện ký số của cơ quan, tổ chức trên văn bản kèm theo.

Vị trí: Góc trên, bên phải, trang đầu của văn bản kèm theo.

Hình ảnh chữ ký số của cơ quan, tổ chức: Không hiển thị.

Thông tin: Số và ký hiệu văn bản; thời gian ký (ngày tháng năm; giờ phút giây; múi giờ Việt Nam theo tiêu chuẩn ISO 8601) được trình bày bằng phông chữ Times New Roman, chữ in thường, kiểu chữ đứng, cỡ chữ 10, màu đen.

c) Dấu, chữ ký số của cơ quan, tổ chức được trình bày tại ô số 8 Mục IV Phần I Phụ lục này.

9. Nơi nhận

a) Nơi nhận văn bản gồm: Nơi nhận để thực hiện; nơi nhận để kiểm tra, giám sát, báo cáo, trao đổi công việc, để biết; nơi nhận để lưu văn bản.

b) Đối với Tờ trình, Báo cáo (cơ quan, tổ chức cấp dưới gửi cơ quan, tổ chức cấp trên) và Công văn, nơi nhận bao gồm:

Phần thứ nhất bao gồm từ “Kính gửi”, sau đó là tên các cơ quan, tổ chức hoặc đơn vị, cá nhân trực tiếp giải quyết công việc.

Phần thứ hai bao gồm từ “Nơi nhận”, phía dưới là từ “Như trên”, tiếp theo là tên các cơ quan, tổ chức, đơn vị và cá nhân có liên quan khác nhận văn bản.

c) Đối với những văn bản khác, nơi nhận bao gồm từ “Nơi nhận” và phần liệt kê các cơ quan, tổ chức, đơn vị và cá nhân nhận văn bản.

d) Nơi nhận được trình bày tại ô số 9a và 9b Mục IV Phần I Phụ lục này bao gồm:

Phần nơi nhận tại ô số 9a (áp dụng đối với Tờ trình, Báo cáo của cơ quan, tổ chức cấp dưới gửi cơ quan, tổ chức cấp trên và Công văn): Từ “Kính gửi” và tên các cơ quan, tổ chức hoặc cá nhân nhận văn bản được trình bày bằng chữ in thường, cỡ chữ từ 13 đến 14, kiểu chữ đứng; sau từ “Kính gửi” có dấu hai chấm (:). Nếu văn bản gửi cho một cơ quan, tổ chức hoặc một cá nhân thì từ “Kính gửi” và tên cơ quan, tổ chức hoặc cá nhân được trình bày trên cùng một dòng; trường hợp văn bản gửi cho hai cơ quan, tổ chức hoặc cá nhân trở lên thì xuống dòng, tên mỗi cơ quan, tổ chức, cá nhân hoặc mỗi nhóm cơ quan, tổ chức, cá nhân được trình bày trên một dòng riêng, đầu dòng có gạch đầu dòng (-), cuối dòng có dấu chấm phẩy (;), cuối dòng cuối cùng có dấu chấm (.); các gạch đầu dòng được trình bày thẳng hàng với nhau dưới dấu hai chấm (:).

Phần nơi nhận tại ô số 9b (áp dụng chung đối với các loại văn bản): Từ “Nơi nhận” được trình bày trên một dòng riêng (ngang hàng với dòng chữ “quyền hạn, chức vụ của người ký” và sát lề trái), sau có dấu hai chấm (:), bằng chữ in thường, cỡ chữ 12, kiểu chữ nghiêng, đậm; phần liệt kê các cơ quan, tổ chức, đơn vị và cá nhân nhận văn bản được trình bày bằng chữ in thường, cỡ chữ 11, kiểu chữ đứng; tên mỗi cơ quan, tổ chức, đơn vị và cá nhân hoặc mỗi nhóm cơ quan, tổ chức, đơn vị nhận văn bản được trình bày trên một dòng riêng, đầu dòng có gạch đầu dòng (-) sát lề trái, cuối dòng có dấu chấm phẩy (;), dòng cuối cùng bao gồm chữ “Lưu” sau có dấu hai chấm (:), tiếp theo là chữ viết tắt “VT”, dấu phẩy (,), chữ viết tắt tên đơn vị (hoặc bộ phận) soạn thảo văn bản và số lượng bản lưu, cuối cùng là dấu chấm (.).

III. CÁC THÀNH PHẦN THỂ THỨC KHÁC

  1. Phụ lục

a) Trường hợp văn bản có Phụ lục kèm theo thì trong văn bản phải có chỉ dẫn về Phụ lục đó. Văn bản có từ hai Phụ lục trở lên thì các Phụ lục phải được đánh số thứ tự bằng chữ số La Mã.

b) Từ “Phụ lục” và số thứ tự của Phụ lục được trình bày thành một dòng riêng, canh giữa, bằng chữ in thường, cỡ chữ 14, kiểu chữ đứng, đậm; tên Phụ lục (nếu có) được trình bày canh giữa, bằng chữ in hoa, cỡ chữ từ 13 đến 14, kiểu chữ đứng, đậm.

c) Thông tin chỉ dẫn kèm theo văn bản trên mỗi Phụ lục được ban hành bao gồm: Số, ký hiệu văn bản, thời gian ban hành văn bản và tên cơ quan, tổ chức ban hành văn bản. Thông tin chỉ dẫn kèm theo văn bản được canh giữa phía dưới tên của Phụ lục, chữ in thường, cỡ chữ từ 13 đến 14, kiểu chữ nghiêng, cùng phông chữ với nội dung văn bản, màu đen.

Thông tin chỉ dẫn kèm theo văn bản trên mỗi phụ lục (Kèm theo văn bản số…/…-… ngày…. tháng…. năm….) được ghi đầy đủ đối với văn bản giấy; đối với văn bản điện tử, không phải điền thông tin tại các vị trí này.

d) Đối với Phụ lục cùng tệp tin với nội dung văn bản điện tử, Văn thư cơ quan chỉ thực hiện ký số văn bản và không thực hiện ký số lên Phụ lục.

Đối với Phụ lục không cùng tệp tin với nội dung văn bản điện tử, Văn thư cơ quan thực hiện ký số của cơ quan, tổ chức trên từng tệp tin kèm theo, cụ thể:

Vị trí: Góc trên, bên phải, trang đầu của mỗi tệp tin.

Hình ảnh chữ ký số của cơ quan, tổ chức: Không hiển thị.

Thông tin: Số và ký hiệu văn bản; thời gian ký (ngày tháng năm; giờ phút giây; múi giờ Việt Nam theo tiêu chuẩn ISO 8601) được trình bày bằng phông chữ Times New Roman, chữ in thường, kiểu chữ đứng, cỡ chữ 10, màu đen.

đ) Số trang của Phụ lục được đánh số riêng theo từng Phụ lục.

e) Mẫu trình bày phụ lục văn bản thực hiện theo quy định tại Phụ lục III Nghị định này.

2. Dấu chỉ độ mật, mức độ khẩn, các chỉ dẫn về phạm vi lưu hành

a) Dấu chỉ độ mật

Việc xác định và đóng dấu chỉ độ mật (tuyệt mật, tối mật hoặc mật), dấu tài liệu thu hồi đối với văn bản có nội dung bí mật nhà nước được thực hiện theo quy định hiện hành. Con dấu các độ mật (TUYỆT MẬT, TỐI MẬT hoặc MẬT) và dấu tài liệu thu hồi được khắc sẵn theo quy định của pháp luật về bảo vệ bí mật nhà nước. Dấu chỉ độ mật được đóng vào ô số 10a Mục IV Phần I Phụ lục này; dấu tài liệu thu hồi được đóng vào ô số 11 Mục IV Phần I Phụ lục này.

b) Dấu chỉ mức độ khẩn

Khi soạn thảo văn bản có tính chất khẩn, đơn vị hoặc cá nhân soạn thảo văn bản đề xuất mức độ khẩn trình người ký văn bản quyết định. Tùy theo mức độ cần được chuyển phát nhanh, văn bản được xác định độ khẩn theo các mức sau: hỏa tốc, thượng khẩn, khẩn.

Con dấu các mức độ khẩn được khắc sẵn hình chữ nhật có kích thước 30 mm x 8 mm, 40 mm x 8 mm và 20 mm x 8 mm, trên đó các từ “HỎA TỐC”, “THƯỢNG KHẨN” và “KHẨN”, trình bày bằng chữ in hoa, phông chữ Times New Roman, cỡ chữ từ 13 đến 14, kiểu chữ đứng, đậm và đặt cân đối trong khung hình chữ nhật viền đơn. Dấu chỉ mức độ khẩn được đóng vào ô số 10b Mục IV Phần I Phụ lục này. Mực để đóng dấu chỉ mức độ khẩn dùng màu đỏ tươi.

c) Các chỉ dẫn về phạm vi lưu hành

Đối với những văn bản có phạm vi, đối tượng, sử dụng hạn chế, sử dụng các chỉ dẫn về phạm vi lưu hành như “XEM XONG TRẢ LẠI”, “LƯU HÀNH NỘI BỘ”. Các chỉ dẫn về phạm vi lưu hành trình bày tại ô số 11 Mục IV Phần I Phụ lục này, trình bày cân đối trong một khung hình chữ nhật viền đơn, bằng chữ in hoa, phông chữ Times New Roman, cỡ chữ từ 13 đến 14, kiểu chữ đứng, đậm.

  1. Ký hiệu người soạn thảo văn bản và số lượng bản phát hành

Được trình bày tại ô số 12 Mục IV Phần I Phụ lục này, ký hiệu bằng chữ in hoa, số lượng bản bằng chữ số Ả Rập, cỡ chữ 11, kiểu chữ đứng.

  1. Địa chỉ cơ quan, tổ chức; thư điện tử; trang thông tin điện tử; số điện thoại; số Fax

Các thành phần này được trình bày tại ô số 13 Mục IV Phần I Phụ lục này ở trang thứ nhất của văn bản, bằng chữ in thường, cỡ chữ từ 11 đến 12, kiểu chữ đứng, dưới một đường kẻ nét liền kéo dài hết chiều ngang của vùng trình bày văn bản.

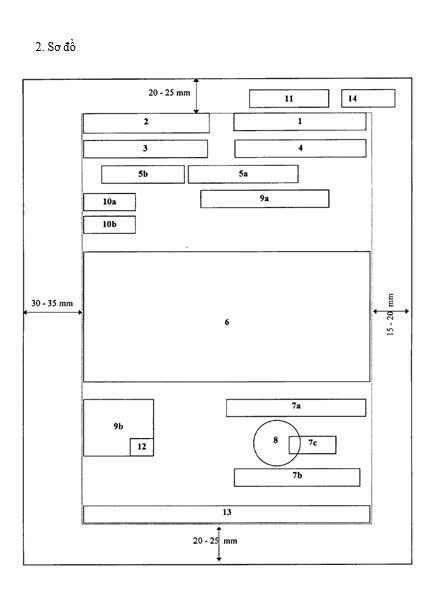
IV. SƠ ĐỒ BỐ TRÍ CÁC THÀNH PHẦN THỂ THỨC VĂN BẢN HÀNH CHÍNH

  1. Vị trí trình bày các thành phần thể thức
Ô số:Thành phần thể thức văn bản
1:Quốc hiệu và Tiêu ngữ
2:Tên cơ quan, tổ chức ban hành văn bản
3:Số, ký hiệu của văn bản
4:Địa danh và thời gian ban hành văn bản
5a:Tên loại và trích yếu nội dung văn bản
5b:Trích yếu nội dung công văn
6:Nội dung văn bản
7a, 7b, 7c:Chức vụ, họ tên và chữ ký của người có thẩm quyền
8:Dấu, Chữ ký số của cơ quan, tổ chức
9a, 9b:Nơi nhận
10a:Dấu chỉ độ mật
10b:Dấu chỉ mức độ khẩn
11:Chỉ dẫn về phạm vi lưu hành
12:Ký hiệu người soạn thảo văn bản và số lượng bản phát hành
13:Địa chỉ cơ quan, tổ chức; thư điện tử; trang thông tin điện tử; số điện thoại; số Fax.
14:Chữ ký số của cơ quan, tổ chức cho bản sao văn bản sang định dạng điện tử
  1. Sơ đồ  V. MẪU CHỮ VÀ CHI TIẾT TRÌNH BÀY THỂ THỨC VĂN BẢN HÀNH CHÍNH
STTThành phần thể thức và chi tiết trình bàyLoại chữCỡ chữ1Kiểu chữVí dụ minh họa
Phông chữ Times New RomanCỡ chữ
1Quốc hiệu và Tiêu ngữ
– Quốc hiệuIn hoa12 – 13Đứng, đậmCỘNG HÒA XÃ HỘI CHỦ NGHĨA VIỆT NAM12
– Tiêu ngữIn thường13 – 14Đứng, đậmĐộc lập – Tự do – Hạnh phúc13
– Dòng kẻ bên dưới
2Tên cơ quan, tổ chức ban hành văn bản
– Tên cơ quan, tổ chức chủ quản trực tiếpIn hoa12 – 13ĐứngBỘ NỘI VỤ12
– Tên cơ quan, tổ chức ban hành văn bảnIn hoa12 – 13Đứng, đậmCỤC VĂN THƯ VÀ LƯU TRỮ NHÀ NƯỚC12
– Dòng kẻ bên dưới
3Số, ký hiệu của văn bảnIn thường13ĐứngSố: 15/QĐ-BNV; Số: 05/BNV-VP; Số: 12/UBND-VX13
4Địa danh và thời gian ban hành văn bảnIn thường13 – 14NghiêngHà Nội, ngày 05 tháng 01 năm 2020

Thành phố Hồ Chí Minh, ngày 29 tháng 6 năm 2019

13
5Tên loại và trích yếu nội dung văn bản

1 Cỡ chữ trong cùng một văn bản tăng, giảm phải thống nhất, ví dụ: Quốc hiệu cỡ chữ 13, Tiêu ngữ cỡ chữ 14, địa danh và ngày, tháng, năm văn bản cỡ chữ 14 hoặc Quốc hiệu cỡ chữ 12, Tiêu ngữ cỡ chữ 13, địa danh và ngày, tháng, năm văn bản cỡ chữ 13.

STTThành phần thể thức và chi tiết trình bàyLoại chữCỡ  chữKiểu chữVí dụ minh họa
Phông chữ Times New RomanCỡ chữ
aĐối với văn bản có tên loại
– Tên loại văn bảnIn hoa13 – 14Đứng, đậmCHỈ THỊ14
– Trích yếu nội dungIn thường13 – 14Đứng, đậmVề công tác phòng, chống lụt bão14
– Dòng kẻ bên dưới
bĐối với công văn
Trích yếu nội dungIn thường12 – 13ĐứngV/v nâng bậc lương năm 201912
6Nội dung văn bảnIn thường13 – 14Đứng Trong công tác chỉ đạo…14
aGồm phần, chương, mục, tiểu mục, điều, khoản, điểm
– Từ “Phần”, “Chương” và số thứ tự của phần, chươngIn thường13 – 14Đứng, đậmPhần IChương I14
– Tiêu đề của phần, chươngIn hoa13 – 14Đứng, đậmQUY ĐỊNH CHUNGQUY ĐỊNH CHUNG14
– Từ “Mục” và số thứ tựIn thường13 – 14Đứng, đậmMục 114
– Tiêu đề của mụcIn hoa13 – 14Đứng, đậmQUẢN LÝ VĂN BẢN14
– Từ “Tiểu mục” và số thứ tựIn thường13 – 14Đứng, đậmTiểu mục 114
– Tiêu đề của tiểu mụcIn hoa13 – 14Đứng, đậmQUẢN LÝ VĂN BẢN ĐI14
– ĐiềuIn thường13 – 14Đứng, đậmĐiều 1. Bản sao văn bản14
– KhoảnIn thường13 – 14Đứng1. Các hình thức…14
– ĐiểmIn thường13 – 14Đứnga) Đối với….14
bGồm phần, mục, khoản, điểm
– Từ “Phần” và số thứ tựIn thường13 – 14Đứng, đậmPhần I14
– Tiêu đề của phầnIn hoa13 – 14Đứng, đậmTÌNH HÌNH THỰC HIỆN NHIỆM VỤ…14
– Số thứ tự và tiêu đề của mụcIn hoa13 – 14Đứng, đậmI. NHỮNG KẾT QUẢ…14
– Khoản:
Trường hợp có tiêu đềIn thường13 – 14Đứng, đậm1. Phạm vi và đối tượng áp dụng14
Trường hợp không có tiêu đềIn thường13 – 14Đứng1. Quyết định này có hiệu lực thi hành kể từ ngày…14
– ĐiểmIn thường13 – 14Đứnga) Đối với….14
7Chức vụ, họ tên của người có thẩm quyền
– Quyền hạn của người kýIn hoa13 – 14Đứng, đậmTM. ỦY BAN NHÂN DÂNKT. BỘ TRƯỞNG14
– Chức vụ của người kýIn hoa13 – 14Đứng, đậmCHỦ TỊCHTHỨ TRƯỞNG14
– Họ tên của người kýIn thường13 – 14Đứng, đậmNguyễn Văn ATrần Văn B14
8Nơi nhận
aTừ “Kính gửi” và tên cơ quan, tổ chức, cá nhân nhận văn bảnIn thường13 -14Đứng14
– Gửi một nơiKính gửi: Bộ Nội vụ14
– Gửi nhiều nơiKính gửi:

– Bộ Nội vụ;

– Bộ Kế hoạch và Đầu tư;

– Bộ Tài chính.

14
bTừ “Nơi nhận” và tên cơ quan, tổ chức, cá nhân nhận văn bản
– Từ “Nơi nhận”In thường12Nghiêng, đậmNơi nhận:Nơi nhận: (đối với công văn)12
– Tên cơ quan, tổ chức, cá nhân nhận văn bảnIn thường11Đứng– Các bộ, cơ quan ngang bộ,…;

– …………….;

– Lưu: VT, TCCB.

– Như trên;

– …………….;

– Lưu: VT, NVĐP.

11
9Phụ lục văn bản
– Từ “Phụ lục” và số thứ tự của phụ lụcIn thường14Đứng, đậmPhụ lục I14
– Tiêu đề của phụ lụcIn hoa13 – 14Đứng, đậmBẢNG CHỮ VIẾT TẮT14
10Dấu chỉ mức độ khẩnIn hoa13 – 14Đứng, đậm
HỎA TỐC THƯỢNG KHẨN KHẨN
13
11Ký hiệu người soạn thảo văn bản và số lượng bản phát hànhIn thường11ĐứngPL.(300)11
12Địa chỉ cơ quan, tổ chức; thư điện tử; trang thông tin điện tử; số điện thoại; số FaxIn thường11 – 12ĐứngSố:……………………………………………………………………………

ĐT:…………………………… , Fax:……………………………………..

E-Mail:………………………. Website:……………………………….

11
13Chỉ dẫn về phạm vi lưu hànhIn hoa13 – 14Đứng, đậm
XEM XONG TRẢ LẠI LƯU HÀNH NỘI BỘ
13
14Số trangIn thường13 – 14Đứng2, 7, 1314

 

Phần II

THỂ THỨC VÀ KỸ THUẬT TRÌNH BÀY BẢN SAO VĂN BẢN

 

I. BẢN SAO SANG ĐỊNH DẠNG ĐIỆN TỬ

  1. Hình thức sao

“SAO Y” hoặc “SAO LỤC” hoặc “TRÍCH SAO”.

  1. Tiêu chuẩn của văn bản số hóa

a) Định dạng Portable Document Format (.pdf), phiên bản 1.4 trở lên.

b) Ảnh màu.

c) Độ phân giải tối thiểu: 200dpi.

d) Tỷ lệ số hóa: 100%.

3. Hình thức chữ ký số của cơ quan, tổ chức trên bản sao định dạng điện tử

a) Vị trí: Góc trên, bên phải, trang đầu của văn bản, trình bày tại ô số 14 Mục IV Phần I Phụ lục này.

b) Hình ảnh chữ ký số của cơ quan, tổ chức: Không hiển thị.

c) Thông tin: Hình thức sao, tên cơ quan, tổ chức sao văn bản, thời gian ký (ngày tháng năm; giờ phút giây; múi giờ Việt Nam theo tiêu chuẩn ISO 8601) được trình bày bằng phông chữ Times New Roman, chữ in thường, kiểu chữ đứng, cỡ chữ 10, màu đen.

II. BẢN SAO SANG ĐỊNH DẠNG GIẤY

  1. Thể thức bản sao sang định dạng giấy

a) Hình thức sao: “SAO Y” hoặc “SAO LỤC” hoặc “TRÍCH SAO”.

b) Tên cơ quan, tổ chức sao văn bản.

c) Số, ký hiệu bản sao bao gồm số thứ tự đăng ký (được đánh chung cho các loại bản sao do cơ quan, tổ chức thực hiện) và chữ viết tắt tên loại bản sao theo Bảng chữ viết tắt và mẫu trình bày văn bản, bản sao văn bản tại Mục I Phụ lục III Nghị định này. Số được ghi bằng chữ số Ả Rập, bắt đầu liên tiếp từ số 01 vào ngày 01 tháng 01 và kết thúc vào ngày 31 tháng 12 hàng năm.

d) Địa danh và thời gian sao văn bản.

đ) Chức vụ, họ tên và chữ ký của người có thẩm quyền sao văn bản.

e) Dấu của cơ quan, tổ chức sao văn bản.

g) Nơi nhận.

2. Kỹ thuật trình bày bản sao sang định dạng giấy

a) Các thành phần thể thức bản sao được trình bày trên cùng một tờ giấy (khổ A4), ngay sau phần cuối cùng của văn bản cần sao dưới một đường kẻ nét liền, kéo dài hết chiều ngang của vùng trình bày văn bản.

b) Các cụm từ “SAO Y”, “SAO LỤC”, “TRÍCH SAO” được trình bày bằng chữ in hoa, cỡ chữ từ 13 đến 14, kiểu chữ đứng, đậm.

c) Cỡ chữ, kiểu chữ của tên cơ quan, tổ chức sao văn bản; số, ký hiệu bản sao; địa danh và thời gian sao văn bản; chức vụ, họ tên và chữ ký của người có thẩm quyền; dấu của cơ quan, tổ chức sao văn bản và nơi nhận được trình bày theo hướng dẫn các thành phần thể thức văn bản tại khoản 2, 3, 4, 7, 8, 9 Mục II Phần I Phụ lục này.

d) Mẫu trình bày bản sao định dạng giấy được minh họa tại Phụ lục III Nghị định này.

3. Sơ đồ bố trí các thành phần thể thức bản sao sang định dạng giấy

a) Vị trí trình bày các thành phần thể thức

Ô số:Thành phần thể thức bản sao
1:Hình thức sao: “SAO Y”, “SAO LỤC” hoặc “TRÍCH SAO”
2:Tên cơ quan, tổ chức sao văn bản
3:Số, ký hiệu bản sao
4:Địa danh và ngày, tháng, năm sao
5a, 5b, 5c:Chức vụ, họ tên và chữ ký của người có thẩm quyền
6:Dấu của cơ quan, tổ chức
7:Nơi nhận

 

b) Sơ đồ

 

 

Phụ lục II

VIẾT HOA TRONG VĂN BẢN HÀNH CHÍNH
(Kèm theo Nghị định số 30/2020/NĐ-CP ngày 05 tháng 3 năm 2020 của Chính phủ)

 

 

I. VIẾT HOA VÌ PHÉP ĐẶT CÂU

Viết hoa chữ cái đầu âm tiết thứ nhất của một câu hoàn chỉnh: Sau dấu chấm câu (.); sau dấu chấm hỏi (?); sau dấu chấm than (!) và khi xuống dòng.

II. VIẾT HOA DANH TỪ RIÊNG CHỈ TÊN NGƯỜI

  1. Tên người Việt Nam

a) Tên thông thường: Viết hoa chữ cái đầu tất cả các âm tiết của danh từ riêng chỉ tên người. Ví dụ: Nguyễn Ái Quốc, Trần Phú,…

b) Tên hiệu, tên gọi nhân vật lịch sử: Viết hoa chữ cái đầu tất cả các âm tiết. Ví dụ: Vua Hùng, Bà Triệu, Ông Gióng, Bác Hồ, Cụ Hồ,…

2. Tên người nước ngoài được phiên âm chuyển sang tiếng Việt

a) Trường hợp phiên âm sang âm Hán – Việt: Viết theo quy tắc viết tên người Việt Nam. Ví dụ: Kim Nhật Thành, Mao Trạch Đông, Thành Cát Tư Hãn,…

b) Trường hợp phiên âm không sang âm Hán – Việt (phiên âm trực tiếp sát cách đọc của nguyên ngữ): Viết hoa chữ cái đầu âm tiết thứ nhất trong mỗi thành phần. Ví dụ: Vla-đi-mia I-lích Lê-nin, Phri-đrích Ăng-ghen,…

III. VIẾT HOA TÊN ĐỊA LÝ

  1. Tên địa lý Việt Nam

a) Tên đơn vị hành chính được cấu tạo giữa danh từ chung (tỉnh, thành phố trực thuộc Trung ương; huyện, quận, thị xã, thành phố thuộc tỉnh, thành phố thuộc thành phố trực thuộc Trung ương; xã, phường, thị trấn) với tên riêng của đơn vị hành chính đó: Viết hoa chữ cái đầu của các âm tiết tạo thành tên riêng và không dùng gạch nối. Ví dụ: thành phố Thái Nguyên, tỉnh Nam Định,…

b) Trường hợp tên đơn vị hành chính được cấu tạo giữa danh từ chung kết hợp với chữ số, tên người, tên sự kiện lịch sử: Viết hoa cả danh từ chung chỉ đơn vị hành chính đó. Ví dụ: Quận 1, Phường Điện Biên Phủ,…

c) Trường hợp viết hoa đặc biệt: Thủ đô Hà Nội, Thành phố Hồ Chí Minh.

d) Tên địa lý được cấu tạo giữa danh từ chung chỉ địa hình (sông, núi, hồ, biển, cửa, bến, cầu, vũng, lạch, vàm,…) với danh từ riêng (có một âm tiết) trở thành tên riêng của địa danh đó: Viết hoa tất cả các chữ cái tạo nên địa danh. Ví dụ: Cửa Lò, Vũng Tàu, Lạch Trường, Vàm Cỏ, Cầu Giấy,…

Trường hợp danh từ chung chỉ địa hình đi liền với danh từ riêng: Không viết hoa danh từ chung mà chỉ viết hoa danh từ riêng. Ví dụ: biển Cửa Lò, chợ Bến Thành, sông Vàm Cỏ, vịnh Hạ Long,…

đ) Tên địa lý chỉ một vùng, miền, khu vực nhất định được Cấu tạo bằng từ chỉ phương hướng kết hợp với từ chỉ phương hướng khác: Viết hoa chữ cái đầu của tất cả các âm tiết tạo thành tên gọi. Đối với tên địa lý chỉ vùng, miền riêng được cấu tạo bằng từ chỉ phương hướng kết hợp với danh từ chỉ địa hình thì viết hoa các chữ cái đầu mỗi âm tiết. Ví dụ: Tây Bắc, Đông Bắc, Bắc Bộ,…

  1. Tên địa lý nước ngoài được phiên âm chuyển sang tiếng Việt

a) Tên địa lý đã được phiên âm sang âm Hán – Việt: Viết theo quy tắc viết hoa tên địa lý Việt Nam. Ví dụ: Bắc Kinh, Bình Nhưỡng, Pháp, Anh,…

b) Tên địa lý phiên âm không sang âm Hán – Việt (phiên âm trực tiếp sát cách đọc của nguyên ngữ): Viết hoa theo quy tắc viết hoa tên người nước ngoài quy định tại điểm b khoản 2 Mục II Phụ lục này. Ví dụ: Mát-xcơ-va, Men-bơn,…

IV. VIẾT HOA TÊN CƠ QUAN, TỔ CHỨC

  1. Tên cơ quan, tổ chức của Việt Nam

a) Viết hoa chữ cái đầu của các từ, cụm từ chỉ loại hình cơ quan, tổ chức; chức năng, lĩnh vực hoạt động của cơ quan, tổ chức. Ví dụ: Ban Chỉ đạo trung ương về Phòng chống tham nhũng, Văn phòng Chủ tịch nước, Bộ Tài nguyên và Môi trường, Tập đoàn Điện lực Việt Nam, Hội đồng nhân dân tỉnh Sơn La, Sở Tài chính,…

b) Trường hợp viết hoa đặc biệt: Ban Chấp hành Trung ương Đảng Cộng sản Việt Nam, Văn phòng Trung ương Đảng,…

2. Tên cơ quan, tổ chức nước ngoài

a) Tên cơ quan, tổ chức nước ngoài đã dịch nghĩa: Viết hoa theo quy tắc viết tên cơ quan, tổ chức của Việt Nam. Ví dụ: Liên hợp quốc (UN), Tổ chức Y tế thế giới (WHO),…

b) Tên cơ quan, tổ chức nước ngoài được sử dụng trong văn bản ở dạng viết tắt: Viết bằng chữ in hoa như nguyên ngữ hoặc chuyển tự La-tinh nếu nguyên ngữ không thuộc hệ La-tinh. Ví dụ: WTO, UNDP, UNESCO, ASEAN,…

V. VIẾT HOA CÁC TRƯỜNG HỢP KHÁC

  1. Danh từ thuộc trường hợp đặc biệt: Nhân dân, Nhà nước.
  2. Tên các huân chương, huy chương, các danh hiệu vinh dự: Viết hoa chữ cái đầu của các âm tiết của các thành phần tạo thành tên riêng và các từ chỉ thứ, hạng. Ví dụ: Huân chương Sao vàng, Nghệ sĩ Nhân dân, Anh hùng Lao động,…
  3. Tên chức vụ, học vị, danh hiệu: Viết hoa tên chức vụ, học vị nếu đi liền với tên người cụ thể. Ví dụ: Chủ tịch Quốc hội, Thủ tướng Chính phủ, Giáo sư Tôn Thất Tùng,…
  4. Danh từ chung đã riêng hóa

Viết hoa chữ cái đầu của từ, cụm từ chỉ tên gọi đó trong trường hợp dùng trong một nhân xưng, đứng độc lập và thể hiện sự trân trọng. Ví dụ: Bác, Người (chỉ Chủ tịch Hồ Chí Minh), Đảng (chỉ Đảng Cộng sản Việt Nam),…

  1. Tên các ngày lễ, ngày kỷ niệm: Viết hoa chữ cái đầu của âm tiết tạo thành tên gọi ngày lễ, ngày kỷ niệm. Ví dụ: ngày Quốc khánh 2-9, ngày Tổng tuyển cử đầu tiên, ngày Quốc tế Lao động 1-5, ngày Phụ nữ Việt Nam 20-10,…
  2. Tên các loại văn bản: Viết hoa chữ cái đầu của tên loại văn bản và chữ cái đầu của âm tiết thứ nhất tạo thành tên gọi của văn bản trong trường hợp nói đến một văn bản cụ thể. Ví dụ: Bộ luật Hình sự, Luật Tổ chức Quốc hội,…
  3. Trường hợp viện dẫn phần, chương, mục, tiểu mục, điều, khoản, điểm của một văn bản cụ thể thì viết hoa chữ cái đầu của phần, chương, mục, tiểu mục, điều.

Ví dụ:

– Căn cứ điểm a khoản 2 Điều 103 Mục 5 Chương XII Phần I của Bộ luật Hình sự.

– Theo quy định tại điểm a khoản 1 Điều 24 Tiểu mục 1 Mục 1 Chương III của Nghị quyết số 351/2017/UBTVQH14.

  1. Tên các năm âm lịch, ngày tết, ngày và tháng trong năm

a) Tên các năm âm lịch: Viết hoa chữ cái đầu của tất cả các âm tiết tạo thành tên gọi. Ví dụ: Kỷ Tỵ, Tân Hợi, Mậu Tuất, Mậu Thân,…

b) Tên các ngày tết: Viết hoa chữ cái đầu của âm tiết thứ nhất tạo thành tên gọi. Ví dụ: tết Nguyên đán, tết Đoan ngọ, tết Trung thu. Viết hoa chữ Tết trong trường hợp thay cho tết Nguyên đán.

c) Tên các ngày trong tuần và tháng trong năm: Viết hoa chữ cái đầu của âm tiết chỉ ngày và tháng trong trường hợp không dùng chữ số. Ví dụ: thứ Hai, thứ Tư, tháng Năm, tháng Tám,…

9. Tên các sự kiện lịch sử và các triều đại: Viết hoa chữ cái đầu của các âm tiết tạo thành sự kiện và tên sự kiện, trong trường hợp có các con số chỉ mốc thời gian thì ghi bằng chữ và viết hoa chữ đó. Ví dụ: Triều Lý, Triều Trần, Phong trào Xô viết Nghệ Tĩnh, Cách mạng tháng Tám,…

10. Tên các tác phẩm, sách báo, tạp chí: Viết hoa chữ cái đầu của âm tiết thứ nhất tạo thành tên tác phẩm, sách báo. Ví dụ: từ điển Bách khoa toàn thư, tạp chí Cộng sản,…

 

Phụ lục III
BẢNG CHỮ VIẾT TẮT TÊN LOẠI, MẪU TRÌNH BÀY VĂN BẢN

HÀNH CHÍNH VÀ BẢN SAO VĂN BẢN

 (Kèm theo Nghị định số 30/2020/NĐ-CP ngày 05 tháng 3 năm 2020 của Chính phủ)

 

 

I. BẢNG CHỮ VIẾT TẮT TÊN LOẠI VĂN BẢN HÀNH CHÍNH VÀ BẢN SAO VĂN BẢN

STTTên loại văn bản hành chínhChữ viết tắt
1.Nghị quyết (cá biệt)NQ
2.Quyết định (cá biệt)
3.Chỉ thiCT
4.Quy chếQC
5.Quy địnhQyĐ
6.Thông cáoTC
7.Thông báoTB
8.Hướng dẫnHD
9.Chương trìnhCTr
10.Kế hoạchKH
11.Phương ánPA
12.Đề ánĐA
13.Dự ánDA
14.Báo cáoBC
15.Biên bảnBB
16.Tờ trìnhTTr
17.Hợp đồng
18.Công điện
19.Bản ghi nhớBGN
20.Bản thỏa thuậnBTT
21.Giấy ủy quyềnGUQ
22.Giấy mờiGM
23.Giấy giới thiệuGGT
24.Giấy nghỉ phépGNP
25.Phiếu gửiPG
26.Phiếu chuyểnPC
27.Phiếu báoPB
Bản sao văn bản
1.Bản sao ySY
2.Bản trích saoTrS
3.Bản sao lụcSL

II. MẪU TRÌNH BÀY VĂN BẢN HÀNH CHÍNH, PHỤ LỤC VÀ BẢN SAO VĂN BẢN

1. Mẫu trình bày văn bản hành chính
Mẫu 1.1Nghị quyết (cá biệt)
Mẫu 1.2Quyết định (cá biệt) quy định trực tiếp
Mẫu 1.3Quyết định (cá biệt) quy định gián tiếp
Mẫu 1.4Văn bản có tên loại
Mẫu 1.5Công văn
Mẫu 1.6Công điện
Mẫu 1.7Giấy mời
Mẫu 1.8Giấy giới thiệu
Mẫu 1.9Biên bản
Mẫu 1.10Giấy nghỉ phép
2. Mẫu trình bày phụ lục văn bản
Mẫu 2.1Phụ lục văn bản hành chính giấy
Mẫu 2.2Phụ lục văn bản hành chính điện tử
3. Mẫu trình bày bản sao văn bản
Mẫu 3.1Bản sao sang định dạng giấy
Mẫu 3.2Bản sao sang định dạng điện tử

Mẫu 1.1 – Nghị quyết (cá biệt)

 

Mẫu 1.2 – Quyết định (cá biệt) quy định trực tiếp

Mẫu 1.3 – Quyết định (quy định gián tiếp) (*)

Mẫu 1.4 – Văn bản có tên loại

 

Mẫu 1.5 – Công văn

Mẫu 1.6 – Công điện

Mẫu 1.7 – Giấy mời

Mẫu 1.8 – Giấy giới thiệu

Mẫu 1.9 – Biên bản

Mẫu 1.10 – Giấy nghỉ phép

Mẫu 2.1 – Phụ lục văn bản hành chính giấy

Mẫu 2.2 – Mẫu Phụ lục văn bản hành chính điện tử *

Mẫu 3.1 – Bản sao sang định dạng giấy

Mẫu 3.2 – Bản sao sang định dạng điện tử

Phụ lục IV

MẪU VỀ QUẢN LÝ VĂN BẢN

(Kèm theo Nghị định số 30/2020/NĐ-CP ngày 05 tháng 3 năm 2020 của Chính phủ)

I. MẪU SỔ ĐĂNG KÝ VĂN BẢN ĐI

II. MẪU BÌ VĂN BẢN

IV. MẪU SỔ SỬ DỤNG BẢN LƯU

V. MẪU DẤU “ĐẾN”: Được khắc sẵn, hình chữ nhật, kích thước 35mm x 50mm

 

VII. MẪU PHIẾU GIẢI QUYẾT VĂN BẢN ĐẾN

VIII. MẪU SỔ THEO DÕI GIẢI QUYẾT VĂN BẢN ĐẾN

 

Phụ lục V

LẬP HỒ SƠ VÀ GIAO NỘP HỒ SƠ, TÀI LIỆUVÀO LƯU TRỮ CƠ QUAN
(Kèm theo Nghị định số 30/2020/NĐ-CPngày 05 tháng 3 năm 2020 của Chính phủ)

 

 

I. XÂY DỰNG DANH MỤC HỒ SƠ

Danh mục hồ sơ gồm các thành phần: Các đề mục, số và ký hiệu của hồ sơ, tiêu đề hồ sơ, thời hạn bảo quản của hồ sơ, người lập hồ sơ.

  1. Đề mục trong Danh mục hồ sơ được xây dựng theo cơ cấu tổ chức (tên các đơn vị trong cơ quan, tổ chức) hoặc theo lĩnh vực hoạt động (tên các lĩnh vực hoạt động chủ yếu của cơ quan, tổ chức). Trong từng đề mục lớn được chia thành các đề mục nhỏ tương ứng với tên các đơn vị (theo cơ cấu tổ chức) hoặc chia thành các mặt hoạt động (theo lĩnh vực hoạt động). Trong các đề mục nhỏ, trật tự các hồ sơ được sắp xếp theo nguyên tắc từ chung đến riêng, từ tổng hợp đến cụ thể.

Các đề mục lớn được đánh số liên tục bằng chữ số La Mã. Các đề mục nhỏ (nếu có) trong từng đề mục lớn được đánh số riêng bằng chữ số Ả Rập. Chữ viết tắt của các đề mục lớn trong Danh mục hồ sơ do cơ quan, tổ chức quy định nhưng cần ngắn gọn, dễ hiểu.

  1. Số, ký hiệu của hồ sơ bao gồm: số thứ tự (được đánh bằng chữ số Ả Rập) và ký hiệu (bằng các chữ viết tắt) của đề mục lớn.

Việc đánh số hồ sơ có thể áp dụng một trong hai cách sau: Số của hồ sơ được đánh liên tục trong toàn Danh mục, bắt đầu từ số 01 hoặc số của hồ sơ được đánh liên tục trong phạm vi từng đề mục lớn, bắt đầu từ số 01.

  1. Tiêu đề hồ sơ: Cần viết ngắn gọn, rõ ràng nhưng phải khái quát được nội dung của các văn bản, tài liệu sẽ hình thành trong quá trình theo dõi, giải quyết công việc.
  2. Thời hạn bảo quản của hồ sơ được xác định theo quy định hiện hành: Vĩnh viễn hoặc thời hạn bằng số năm cụ thể.

II. MẪU DANH MỤC HỒ SƠ

 

 

III. MẪU MỤC LỤC HỒ SƠ, TÀI LIỆU NỘP LƯU

 

 

IV. MẪU MỤC LỤC VĂN BẢN, TÀI LIỆU TRONG HỒ SƠ 5

 

 

V. MẪU BIÊN BẢN GIAO NHẬN HỒ SƠ, TÀI LIỆU

 

 

 

Căn cứ Nghị định số 30/2020/NĐ-CP ngày 05 tháng 3 năm 2020 của Chính phủ về công tác văn thư;

Căn cứ    …….. (Danh mục hồ sơ năm…, Kế hoạch thu thập tài liệu…),

Chúng tôi gồm:

BÊN GIAO: (tên cá nhân, đơn vị giao nộp hồ sơ, tài liệu)

Ông (bà):            …………………………………………………………………………………………………

Chức vụ công tác:         …………………………………………………………………………………….

BÊN NHẬN: (Lưu trữ cơ quan)

Ông (bà):            …………………………………………………………………………………………………

Chức vụ công tác:         …………………………………………………………………………………….

Thống nhất lập biên bản giao nhận tài liệu với những nội dung như sau:

  1. Tên khối tài liệu giao nộp: ……………………………………………………………………..
  2. Thời gian của hồ sơ, tài liệu: ………………………………………………………………….
  3. Số lượng tài liệu:
  4. a) Đối với hồ sơ, tài liệu giấy

– Tổng số hộp (cặp):     ………………………………………………………………………………….

– Tổng số hồ sơ (đơn vị bảo quản):    ……………. Quy ra mét giá:…………………    mét.

  1. b) Đối với hồ sơ, tài liệu điện tử

– Tổng số hồ sơ: ……………………………………………………………………………………….

– Tổng số tệp tin trong hồ sơ:  ……………………………………………………………………..

  1. Tình trạng tài liệu giao nộp: ……………………………………………………………………
  2. Mục lục hồ sơ, tài liệu nộp lưu kèm theo.

Biên bản này được lập thành hai bản; bên giao giữ một bản, bên nhận giữ một bản./.

 

Phụ lục VI

HỆ THỐNG QUẢN LÝ TÀI LIỆU ĐIỆN TỬ
(Kèm theo Nghị định số 30/2020/NĐ-CP ngày 05 tháng 3 năm 2020 của Chính phủ)

 

Phần I

QUY ĐỊNH ĐỐI VỚI HỆ THỐNG QUẢN LÝ TÀI LIỆU ĐIỆN TỬ

 

I. NGUYÊN TẮC XÂY DỰNG HỆ THỐNG

  1. Bảo đảm quản lý văn bản và hồ sơ điện tử của cơ quan, tổ chức đúng quy định.
  2. Bảo đảm an toàn, an ninh thông tin mạng theo quy định của pháp luật hiện hành.
  3. Bảo đảm phân quyền cho các cá nhân truy cập vào Hệ thống.
  4. Bảo đảm tính xác thực, độ tin cậy của tài liệu, dữ liệu lưu hành trong Hệ thống.
  5. Cho phép kiểm chứng, xác minh, thực hiện các yêu cầu nghiệp vụ khác của cơ quan, tổ chức, cá nhân có trách nhiệm khi được yêu cầu.

II. YÊU CẦU CHUNG KHI THIẾT KẾ HỆ THỐNG

  1. Đáp ứng đầy đủ các quy trình và kỹ thuật về quản lý văn bản điện tử, lập và quản lý hồ sơ điện tử và dữ liệu đặc tả1.
  2. Có khả năng tích hợp, liên thông, chia sẻ thông tin, dữ liệu với các hệ thống khác.
  3. Có khả năng hệ thống hóa văn bản, hồ sơ, thống kê số lượt truy cập văn bản, hồ sơ, hệ thống.
  4. Bảo đảm tính xác thực, tin cậy, toàn vẹn và khả năng truy cập, sử dụng văn bản, tài liệu.

(1 Dữ liệu đặc tả của văn bản, hồ sơ là thông tin mô tả nội dung, định dạng, ngữ cảnh, cấu trúc, các yếu tố cấu thành văn bản, hồ sơ; mối liên hệ của văn bản, hồ sơ với các văn bản, hồ sơ khác; thông tin về chữ ký số trên văn bản; lịch sử hình thành, sử dụng và các đặc tính khác nhằm phục vụ quá trình quản lý, tìm kiếm và khả năng sử dụng của hồ sơ, tài liệu.)

  1. Bảo đảm lưu trữ hồ sơ theo thời hạn bảo quản.
  2. Bảo đảm phù hợp với Khung kiến trúc Chính phủ điện tử Việt Nam.
  3. Bảo đảm dễ tiếp cận và sử dụng.
  4. Cho phép ký số, kiểm tra, xác thực chữ ký số theo quy định của pháp luật.

III. YÊU CẦU CHỨC NĂNG CỦA HỆ THỐNG

  1. Đối với việc tạo lập và theo dõi văn bản

a) Cho phép tạo lập văn bản mới và chuyển đổi định dạng văn bản.

b) Cho phép đính kèm văn bản.

c) Cho phép tạo mã định danh văn bản đi.

d) Hiển thị mức độ khẩn của văn bản.

đ) Cho phép tự động cấp số cho văn bản đi và số đến cho văn bản đến theo thứ tự và trình tự thời gian trong năm.

e) Cho phép bên nhận tự động thông báo cho bên gửi đã nhận văn bản.

g) Cho phép tự động cập nhật các trường thông tin số 1.1, 1.2, 2, 4, 6, 10, 13.1 Mục I Phần II Phụ lục này; trường thông tin số 1.1, 1.2, 2, 10, 12, 13 Mục II Phần II phụ lục này; trường thông tin số 1.1, 1.2, 9, 10 Mục III Phần II Phụ lục này.

h) Thông báo cho Văn thư cơ quan khi có sự trùng lặp mã định danh văn bản hoặc cả ba trường thông tin số, ký hiệu và tên cơ quan, tổ chức ban hành văn bản.

i) Thông báo khi có văn bản mới.

k) Thông báo tình trạng nhận văn bản tại cơ quan, tổ chức nhận văn bản.

l) Cho phép thống kê, theo dõi, đôn đốc việc giải quyết văn bản đến.

m) Cho phép người có thẩm quyền phân phối văn bản đến, theo dõi, đôn đốc đơn vị, cá nhân giải quyết văn bản đúng thời hạn.

n) Cho phép người có thẩm quyền truy cập, chỉnh sửa, chuyển lại dự thảo văn bản, tài liệu.

o) Cho phép cơ quan, tổ chức gửi văn bản biết tình trạng xử lý văn bản của cơ quan, tổ chức nhận văn bản.

2. Đối với việc kết nối, liên thông

a) Bảo đảm kết nối, liên thông giữa các Hệ thống quản lý tài liệu điện tử và Hệ thống quản lý tài liệu lưu trữ điện tử của Lưu trữ lịch sử đối với cơ quan, tổ chức thuộc nguồn nộp lưu.

b) Có khả năng hoạt động trên các thiết bị di động thông minh trong điều kiện bảo đảm an toàn thông tin.

c) Có khả năng kết nối, liên thông và tích hợp với các hệ thống chuyên dụng khác đang được sử dụng tại cơ quan, tổ chức.

3. Đối với an ninh thông tin

a) Bảo đảm các cấp độ an ninh thông tin theo quy định của pháp luật.

b) Bảo đảm phân quyền truy cập đối với từng hồ sơ, văn bản.

c) Cảnh báo sự thay đổi về quyền truy cập đối với từng hồ sơ, văn bản trong Hệ thống cho đến khi có xác nhận của người có thẩm quyền.

4. Đối với việc lập và quản lý hồ sơ

a) Bảo đảm tạo lập Danh mục hồ sơ trong Hệ thống.

b) Bảo đảm tạo mã cho từng hồ sơ và tự động đánh số thứ tự của văn bản, tài liệu trong hồ sơ.

c) Liên kết toàn bộ văn bản, tài liệu và dữ liệu đặc tả có cùng mã hồ sơ trong Hệ thống để tạo thành hồ sơ.

d) Bảo đảm liên kết các trường thông tin trong Danh mục hồ sơ của từng hồ sơ với toàn bộ văn bản, tài liệu, dữ liệu đặc tả của hồ sơ.

đ) Bảo đảm liên kết và thống kê toàn bộ hồ sơ được lập của một tài khoản cụ thể.

e) Cho phép gán một văn bản, tài liệu cho nhiều hồ sơ được tạo bởi nhiều tài khoản khác nhau mà không cần nhân bản.

g) Cho phép kết xuất toàn bộ văn bản, tài liệu, dữ liệu đặc tả của hồ sơ sang định dạng (.pdf), (.xml) và bảo đảm trình tự thời gian hình thành văn bản, tài liệu, dữ liệu đặc tả của hồ sơ.

5. Đối với việc bảo quản và lưu trữ văn bản, hồ sơ

a) Lưu văn bản và các thông tin về quá trình giải quyết văn bản gồm: Ý kiến chỉ đạo, phân phối văn bản đến của người có thẩm quyền; các dự thảo văn bản của cá nhân được phân công soạn thảo; ý kiến góp ý của cá nhân, đơn vị có liên quan; ý kiến chỉ đạo của lãnh đạo; ý kiến phê duyệt, chịu trách nhiệm nội dung của lãnh đạo đơn vị chủ trì soạn thảo; ý kiến phê duyệt chịu trách nhiệm về thể thức, kỹ thuật trình bày văn bản của người có thẩm quyền; lịch sử truy cập và xem văn bản; các tác động khác vào văn bản.

b) Cho phép tự động thông báo hồ sơ đến hạn nộp lưu vào Lưu trữ cơ quan trước 30 ngày kể từ ngày Lưu trữ cơ quan thông báo Danh mục hồ sơ nộp lưu cho đơn vị giao nộp tài liệu.

c) Bảo đảm thực hiện nộp lưu hồ sơ vào Lưu trữ cơ quan, Lưu trữ lịch sử.

d) Bảo đảm sự toàn vẹn, tin cậy, không thay đổi của văn bản, hồ sơ.

đ) Bảo đảm khả năng truy cập và sử dụng hồ sơ, văn bản theo thời hạn bảo quản.

e) Bảo đảm khả năng di chuyển hồ sơ, tài liệu, dữ liệu đặc tả và thay đổi định dạng văn bản khi có sự thay đổi về công nghệ.

g) Có khả năng sao lưu định kỳ, đột xuất và phục hồi dữ liệu khi gặp sự cố.

6. Đối với thống kê, tìm kiếm và sử dụng văn bản, hồ sơ

a) Cho phép thống kê số lượng hồ sơ, văn bản, tài liệu; số lượt truy cập vào từng hồ sơ, văn bản, tài liệu.

b) Cho phép thống kê số lượt truy cập vào Hệ thống theo yêu cầu của người quản lý, quản trị.

c) Cấp quyền, kiểm soát quyền truy cập vào hồ sơ lưu trữ điện tử và dữ liệu đặc tả của hồ sơ lưu trữ.

d) Cho phép tìm kiếm văn bản, hồ sơ đối với tất cả các trường thông tin đầu vào của văn bản, hồ sơ và nội dung của văn bản, tài liệu.

đ) Cho phép lựa chọn hiển thị các trường thông tin của văn bản, hồ sơ trong kết quả tìm kiếm.

e) Cho phép lưu và sử dụng lại các yêu cầu tìm kiếm.

g) Cho phép hiển thị thứ tự kết quả tìm kiếm.

h) Cho phép kết xuất kết quả tìm kiếm ra các định dạng tệp văn bản phổ biến: (.doc), (.docx), (.pdf).

i) Cho phép tải hoặc in văn bản, tài liệu, dữ liệu đặc tả.

k) Cho phép đánh dấu vào văn bản, tài liệu, dữ liệu đặc tả được in ra từ Hệ thống.

l) Lưu lịch sử truy cập và sử dụng văn bản, tài llệu.

7. Đối với việc quản lý dữ liệu đặc tả

a) Lưu các yếu tố dữ liệu đặc tả liên quan đến một văn bản, hồ sơ cụ thể theo thời hạn bảo quản.

b) Hiển thị toàn bộ dữ liệu đặc tả của một văn bản, hồ sơ khi có yêu cầu của người sử dụng được cấp quyền.

c) Cho phép nhập dữ liệu đặc tả bổ sung cho văn bản, hồ sơ.

d) Lưu dữ liệu đặc tả của quá trình kiểm soát an ninh văn bản, hồ sơ, hệ thống.

đ) Lưu và cố định sự liên kết của một văn bản, hồ sơ với tất cả các yếu tố dữ liệu đặc tả liên quan.

  1. Đối với việc thu hồi văn bản

a) Đóng băng văn bản đi và dữ liệu đặc tả văn bản đi khi có lệnh thu hồi văn bản của cơ quan, tổ chức.

b) Hủy văn bản đến và dữ liệu đặc tả văn bản đến khi có lệnh thu hồi văn bản từ cơ quan, tổ chức phát hành văn bản.

c) Lưu dữ liệu đặc tả của quá trình thu hồi văn bản.

IV. YÊU CẦU VỀ QUẢN TRỊ HỆ THỐNG

  1. Hệ thống cho phép người được giao quản trị Hệ thống thực hiện những nhiệm vụ sau:

a) Tạo lập nhóm tài liệu, hồ sơ theo cấp độ thông tin khác nhau.

b) Phân quyền cho người sử dụng theo quy định của cơ quan, tổ chức.

c) Truy cập vào hồ sơ và dữ liệu đặc tả của hồ sơ theo quy định của cơ quan, tổ chức.

d) Thay đổi quyền truy cập đối với hồ sơ, văn bản khi có sự thay đổi quy định của cơ quan, tổ chức.

đ) Thay đổi quyền truy cập của các tài khoản cá nhân khi có những thay đổi về vị trí công tác của cá nhân đó.

e) Phục hồi thông tin, dữ liệu đặc tả trong trường hợp lỗi hệ thống và thông báo kết quả phục hồi.

g) Khóa hoặc đóng băng các tập hợp (văn bản, hồ sơ, nhóm tài liệu) để ngăn chặn khả năng di chuyển, xóa hoặc sửa đổi khi có yêu cầu của người có thẩm quyển.

2. Cảnh báo xung đột xảy ra trong hệ thống.

3. Thiết lập kết nối liên thông.

V. THÔNG TIN ĐẦU RA CỦA HỆ THỐNG

  1. Sổ đăng ký văn bản đến
  2. Báo cáo tình hình giải quyết văn bản đến
  3. Sổ đăng ký văn bản đi
  4. Báo cáo tình hình giải quyết văn bản đi
  5. Mục lục văn bản trong hồ sơ
  6. Mục lục hồ sơ.

 

Phần II

CHUẨN THÔNG TIN ĐẦU VÀO CỦA HỆ THỐNG

 

I. THÔNG TIN ĐẦU VÀO CỦA DỮ LIỆU QUẢN LÝ VĂN BẢN ĐI

STTTrường thông tinTên

(viết tắt tiếng Anh)

Kiểu

dữ liệu

Độ dài
1Mã hồ sơFileCode
1.1Mã định danh của cơ quan, tổ chức lập danh mục hồ sơ2OrganldString13
1.2Năm hình thành hồ sơFileCatalogNumber4
1.3Số và ký hiệu hồ sơFileNotationString20
2Số thứ tự văn bản trong hồ sơDocOrdinalNumber3
3Tên loại văn bảnTypeNameString100
4Số của văn bảnCodeNumberString11
5Ký hiệu của văn bảnCodeNotationString30
6Ngày, tháng, năm văn bảnIssuedDateDate10
7Tên cơ quan, tổ chức ban hành văn bảnOrganNameString200
8Trích yếu nội dungSubjectString500
9Ngôn ngữLanguageString30
10Số trang của văn bảnPageAmountNumber3
11Ghi chúDescriptionString500
12Chức vụ, họ tên người kýSignerlnfo
12.1Chức vụ của người ký văn bảnPositionString100
12.2Họ và tên người ký văn bảnFullNameString50
13Nơi nhậnTo
13.1Mã định danh của cơ quan, tổ chức nhận văn bảnOrganIdString13
13.2Tên cơ quan, tổ chức nhận văn bảnOrganNameString200
14Mức độ khẩn, độ mậtPriorityNumber1
15Số lượng bản phát hànhIssuedAmountNumber3
16Hạn trả lời văn bảnDueDateDate10

2 Mã định danh của cơ quan, tổ chức lập danh mục hồ sơ được mặc định trong Hệ thống.

 

II. THÔNG TIN ĐẦU VÀO CỦA DỮ LIỆU QUẢN LÝ VĂN BẢN ĐẾN

STTTrường thông tinTên

(viết tắt tiếng Anh)

Kiểu dữ liệuĐộ dài
1Mã hồ sơFileCode
1.1Mã định danh của cơ quan, tổ chức lập danh mục hồ sơ3OrganldString13
1.2Năm hình thành hồ sơFileCatalogNumber4
1.3Số và ký hiệu hồ sơFileNotationString20
2Số thứ tự văn bản trong hồ sơDocOrdinalNumber3
3Tên loại văn bảnTypeNameString100
4Số của văn bảnCodeNumberString11
5Ký hiệu của văn bảnCodeNotationString30
6Ngày, tháng, năm văn bảnIssuedDateDate10
7Tên cơ quan, tổ chức ban hành văn bảnOrganNameString200
8Trích yếu nội dungSubjectString500
9Ngôn ngữLanguageString30
10Số trang của văn bảnPageAmountNumber3
11Ghi chúDescriptionString500
12Ngày, tháng, năm đếnArrivalDateDate10
13Số đếnArrivalNumberNumber10
14Chức vụ, họ tên người kýSignerlnfo
14.1Chức vụ của người ký văn bảnPositionString100
14.2Họ và tên người ký văn bảnFullNameString50
15Mức độ khẩn, độ mậtPriorityNumber1
16Đơn vị hoặc người nhậnToPlacesString1000
17Ý kiến phân phối, chỉ đạo, trạng thái xử lý văn bảnTraceHeaderListLongText
18Thời hạn giải quyếtDueDateDate10

3 Mã định danh của cơ quan, tổ chức lập danh mục hồ sơ được mặc định trong hệ thống.

 

III. THÔNG TIN ĐẦU VÀO CỦA DỮ LIỆU QUẢN LÝ HỒ SƠ

STTTrường thông tinTên

(viết tắt tiếng Anh)

Kiểu dữ liệuĐộ dài
1Mã hồ sơFileCode
1.1Mã định danh của cơ quan, tổ chức lập danh mục hồ sơ 4OrganldString13
1.2Năm hình thành hồ sơFileCatalogNumber4
1.3Số và ký hiệu hồ sơFileNotationString20
2Tiêu đề hồ sơTitleString500
3Thời hạn bảo quảnMaintenanceString30
4Chế độ sử dụngRightsString30
5Người lập hồ sơCreatorString30
6Ngôn ngữLanguageString50
7Thời gian bắt đầuStartDateDate10
8Thời gian kết thúcEndDateDate10
9Tổng số văn bản trong hồ sơDocTotalNumber4
10Tổng số trang của hồ sơPageTotalNumber4
11Ghi chúDescriptionString500

4 Mã định danh của cơ quan, tổ chức lập danh mục hồ sơ được mặc định trong Hệ thống.